1月6日获悉,由中科院华南植物园恢复生态学研究组成员完成的“一种简易全自动可调光超声波雾化植物扦插箱”获得国家实用新型专利授权(专利号:ZL201620422347.x)。
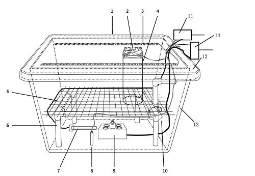
该发明是本发明提供一种简单实用、能够立体化扦插育苗的简易全自动可调光超声波雾化植物扦插箱。扦插箱由箱体、进气扇、导风管、防水红蓝光源、扦插育苗板、支架、加热器、温度控制器、温度传感器、超声波雾化器和自动补水器等组成。扦插箱可实现自动补水,可调光,可加热,定时超声波雾化等功能。
该发明具有很强的实用性,箱体虽小但一次至少可育几百株苗,并可多层组合批量生产,安装简易,操作方便,实现全自动控制。可用于蔬菜、绿化苗、果树、药材等种类,适合于家庭、小农场及小农企自给苗的生产。

发明平面图

专利证书